Detector Readout Systems
Home
Products
Nuclear Physics
Neutron Scattering
Downloads
Sales Network
Contact
Home
-
Products
-
Nuclear Physics
- MPR-16L
Datasheet
Ordering Options
mesytec
MPR-16-L
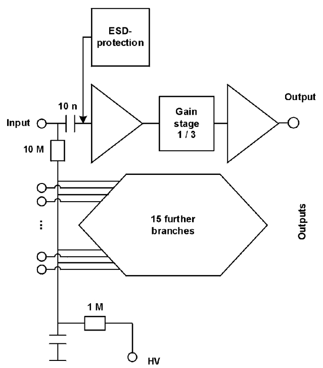
provides a state of the art multi channel charge integrating preamplifier, well suited for silicon or gas detectors.
See also
MPR-16-D
type to drive differential lines.
Features
16 channel compact module
Very low power dissipation (4 V type)
Sensitivity switch, factor 5
ESD input protection
Lemo output, can drive terminated BNC lines
Pulser input
Bias voltage up to ±400 V
PCB module available for vacuum use
Impressum
Datenschutzhinweis
Privacy Policy
© 2025 mesytec GmbH & Co. KG