Detector Readout Systems
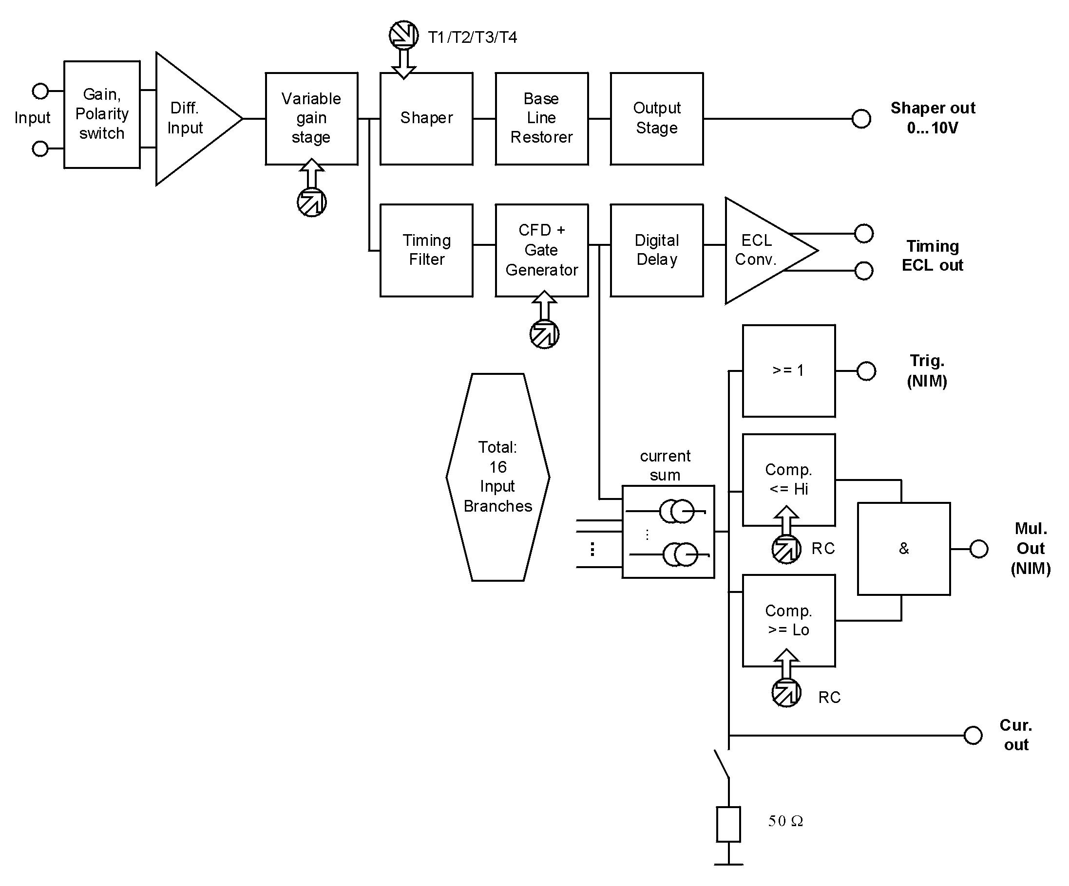
mesytec MSCF-16-PMT is an integrating shaping / timing filter amplifier with constant fraction discriminator and multiplicity trigger. It provides 50 Ohm terminated Lemo 00 inputs, and directly processes fast negative signals from PMTs or other charge sources.
Features
  • 16 channel NIM module, low power design
  • directly interfaces to anode signals from photo multipliers
  • Shaping amplifiers with active baseline restorer
  • Timing filter amplifiers
  • CF discriminators (opt.: leading edge)
  • ECL timing output with digital delay of 400 ns
  • Trigger output
  • Multiplicity trigger
  • Remote control of discriminator thresholds, shaping time, gains and PZ
  • 4 shaping times
  • Gain adjustable from 100 pC to 20 nC for max range
  • 50 Ohm terminated Lemo 00 input
  • Low noise (0.2 pC rms / 2 pC rms)
  • Mostly controllable via front panel
  • Remote control via USB and mesytec control bus
  • 4 selectable timing filter integration times
  • ECL timing delay can be switched off



© 2025 mesytec GmbH & Co. KG